化學品與人類的生產、生活息息相關,涉及領域廣泛。隨著化學品安全生產、健康和環境安全等相關問題的不斷暴露,很多國家和地區對化學品的生產、使用、儲存、運輸和進出口等環節都進行了嚴格的管控。化學品管理法規龐雜、更新頻繁,且管理名錄、清單繁多,使得企業面對不斷變化的化學品法規政策及清單感到無所適從。瑞旭集團基于化學品合規領域十幾年的實操經驗和強大的法規專家團隊,正式發布“化規通”,助力企業輕松合規。
化規通由瑞旭集團研發出品,面向化工及下游行業的化學品全生命周期合規資訊、數據及技術服務平臺。它基于最新的全球化學品法規資訊、可靠的物質及法規標準數據庫、專業的合規工具及技術咨詢服務,幫助企業降低產品合規風險、破除市場準入壁壘。
化規通平臺的主要功能及特點如下所示:
1、包含資訊、指南、工具、數據庫、課程等全方位合規信息。

2、全球化學品名錄查詢(GCIS)
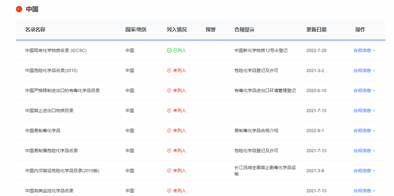
GCIS目前包含:中國、中國臺灣、歐盟、日本、韓國、美國、澳大利亞、新西蘭、加拿大、俄羅斯、墨西哥、菲律賓、印度尼西亞、馬來西亞、越南等多個國家,近70個化學品名錄, 80多萬條信息。
→ 通過CAS編號/中文名稱/英文名稱即可查詢。

→ 全球化學品名錄列入情況, 合規解讀,一目了然。

→ 重點名錄劃分,提供名錄篩選功能,為您快速導航。

→ 一鍵預警功能,幫您快速獲取合規風險。

→ 下載報告,發送郵箱,為您適時記錄合規情況。

3、全球GHS分類查詢
GHS分類查詢目前包括:中國、中國臺灣、歐盟、英國、韓國、澳大利亞和馬來西亞7個國家及地區的強制/非強制性建議分類,幫你快速了解17000多個化學品危害類別及各個國家和地區的分類差異。
→ 通過CAS編號/中文名稱/英文名稱即可查詢。

→ 危險信息、標簽要素等信息清晰。

4、海陸空UN編號及危貨信息一鍵查詢
危險貨物運輸信息包括:在中國境內的空運IATA、海運IMDG、陸運(JT/T617)及內河禁運信息。
→ 通過UN編號/中文描述名/英文描述名即可查詢。

→ 盡含運輸規定、運輸標志、有限數量/例外數量等運輸信息。

→ 內河禁運風險示警。

化規通平臺訪問地址:
- 點擊查看 (建議PC端訪問)
為了方便您更好地了解化規通的功能及特色,我們誠邀您參加明天(8月19日)上午9點的直播。我們將進行現場演示,歡迎參加!


